台州寅马阀门制造有限公司
首页
企业简介
产品大全
联系我们
企业信息
在线留言
当前位置:
首页
>
产品大全
>
阀门 双口排气阀qb2 上海阀天阀门制造厂
阀门 双口排气阀qb2 上海阀天阀门制造厂
如若转载,请注明出处:http://www.yinmacopper.com/product/552.html
更新时间:2025-10-15 03:14:17
产品列表
PRODUCT
锦州不锈钢硬密封蝶阀可量尺定做 大才阀门制造
泊头 郝村易登网
驻马店蝶阀厂家 规模大的阀门生产厂批发
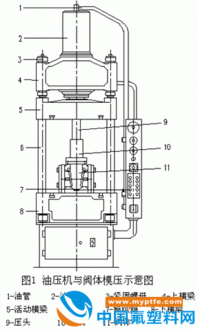
氟塑料衬里阀门生产工艺 2
【上海q41f不锈钢浮动球阀锐尔阀门】-
上海胜克高温高压电站闸阀 高温高压电站闸阀参数价格报价 胜克阀门批发 z60y z960y z62h z962y
桥西区不锈钢截止阀 山东海电阀门服务 不锈钢截止阀批发
化工部截止阀 不锈钢化工部截止阀 化工部法兰截止阀--化工部截止阀--中国欧电阀门制造
【天津亚核 UPVC隔膜阀 截止节流放空阀 浮球式疏水阀】价格,厂家,图片,阀门,天津亚核阀门制造-
【厂家直销减压阀 Y43H膜片式减压阀 蒸汽膜片式减压阀 蒸汽减压阀】价格,厂家,图片,阀门,永嘉县兴一阀门制造-